| 索 引 号: | 231000/2024-00085 | 主题分类: | |
|---|---|---|---|
| 标 题: | 国家税务总局牡丹江市税务局关于居民(自然人)掌上申报缴纳城镇垃圾处理费功能上线的通告 | ||
| 文 号: | 牡税通告[2024]4号 | ||
| 发文日期: | 2024-5-20 | 成文日期: | 2024-05-20 |
| 关 键 词: | 缴费,点击,申报,税务,进行 | ||
为切实方便缴费人缴费,积极推行“非接触式”缴费服务,拓展“实体、网上、掌上、自助”等多样化缴费渠道,国家税务总局牡丹江市税务局开通了“支付宝”和“龙江税务 APP”自然人城镇垃圾处理费个人自主申报和代他人申报缴费功能,牡丹江市市区居民(自然人)可通过“支付宝小程序”或“龙江税务APP”进行申报缴费。
特此通告。
附件:1.居民(自然人)城镇垃圾处理费支付宝申报缴费申报缴费流程
2.居民(自然人)“龙江税务 APP”自主申报缴纳城镇垃圾处理费流程
国家税务总局牡丹江市税务局
2024 年 5 月 20 日
附件1
居民(自然人)城镇垃圾处理费支付宝
申报缴费申报缴费流程
一、自然人城镇垃圾处理费个人自主申报缴费
(一)支付宝-城镇垃圾费缴费入口



1.打开支付宝,点击市民中心。
2.进入市民中心,点击税务。
3.在分类中找到城镇垃圾处理费。
(二)用户授权

1.支付宝用户授权,点击【同意】。
2.通过用户授权信息,获取自然人登记信息。
3.获取自然人登记信息成功,进入城镇垃圾处理费主界面。
(三)费款申报


1.缴费人点击【费款申报】进入费款申报页面,根据自身实际情况选择缴费信息。
2.缴费信息选择完成后,点击【申报】,获取是否确认申报城镇垃圾处理费界面。
3.获取是否确认申报城镇垃圾处理费界面成功后,选择【是】。
(四)费款缴纳




1.进入费款缴纳模块,点击【获取未清缴信息】。
2.成功获取未清缴信息后,点击【发起缴款请求】。
3.点击【已了解,去支付】,支付城镇垃圾处理费。
(五)票据开具


1.点击【票据开具】,缴费人可自行获取非税收入完税票据。
2.缴费人可根据自身需求选择是否需要开具票据。
3.如遇页面突然退出等情况,可在【票据补开】模块开具票据。
(六)申报作废



1.当城镇垃圾处理费申报错误或需要更正时,通过【申报作废】功能模块进行申报作废,在作废成功后通过城镇垃圾处理费模块进行重新申报。
2.点击【申报作废】,进入申报作废模块,选择需要作废的申报表后,点击【作废】,进行申报作废。
(七)开票作废

1.缴费人支付失败或取消支付后,需要更改申报信息,应先进行开票作废。
2.点击【开票作废】,进入该模块后,点击【查询】,获取相应信息后,进行作废,开票作废完成后,需要更改申报信息的缴费人,应进行申报作废。
二、自然人城镇垃圾处理费代他人申报缴费
(一)费款申报-代缴



1.点击【费款申报-代缴】,进入该模块后,根据缴费人实际情况填写缴费信息。
2.填写信息完成后,点击【开始申报】。
(二)费款缴纳-代缴




1.点击【费款缴纳-代缴】,进入后,点击【获取未清缴信息】,带出缴费信息后点击【开始缴款】。
2.可选择支付宝、微信、云闪付进行支付城镇垃圾处理费费款。
(三)申报作废-代缴


1.当城镇垃圾处理费申报错误或需要更正时,通过【申报作废-代缴】功能模块进行申报作废,在作废成功后通过费款申报-代缴模块进行重新申报。
2.点击【申报作废】,进入申报作废模块,点击【作废】,进行申报作废。
(四)费款申报-二维码




1.点击【费款申报-二维码】,进入该模块后,根据缴费人实际情况填写缴费信息。
2.填写信息完成后,点击【开始申报】,出现提示后点击【是】,系统自动生成二维码,缴费人可使用支付宝,微信,云闪付扫描二维码进行缴费。
(五)开票作废-二维码

当城镇垃圾处理费申报错误或需要更正时,通过【开票作废-代缴】功能模块进行作废,在作废成功后通过费款申报-二维码模块进行重新申报。
(六)票据开具


缴费人可以根据实际情况选择票据开具方式,进入开具票据模块后,填写缴费人实际信息后,点击【查询】,获取相应票据。
【提示】若有其他操作问题请拨打12366咨询电话。
附件2
关于居民(自然人)“龙江税务APP”
自主申报缴纳城镇垃圾处理费流程
一、APP下载

使用手机扫描上方二维码下载龙江税务App(安卓与苹果设备通用)。
二、APP登陆
登陆龙江税务APP,在界面下方找到【我的】,点击最上方的头像进入用户登录界面,选择【个人业务】,进行登录。
龙江税务APP登录成功后依次打开【办税】,【非税套餐】,【自然人城镇垃圾处理费(自主申报)】或【自然人城镇垃圾处理费(代他人缴费)】。

三、申报缴费
(一)自主申报。
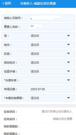
居民(自然人)申报。居民(自然人)根据实际情况填写主管税务机关所属的省、市、区及街道,填选办理年度以及选择对应的本年度应缴纳金额进行申报。
【提示信息】是否申报城镇垃圾处理费,申报选择“是”,不申报选择“否”。

居民(自然人)缴费。申报成功后,提示“受理成功”,点击“确定”,自动跳转【费款缴纳】界面进行费款缴纳操作。点击“获取未清缴信息”,“开始缴款”,“选择支付方式”,费款缴纳支持微信、支付宝、云闪付等渠道缴费(如手动进入则通过【费款缴纳】模块进入),“发起缴款请求”,弹出“友情提示”无问题,请点击“已了解,去支付”,点击“去支付”,“确认支付”。

(二)代他人缴费。
居民(自然人)在代他人缴费时,可选择【自然人城镇垃圾处理费(代他人缴费)】模块,进入界面后先填写应缴费人的身份证号码和姓名,点击【验证】。申报操作参考自主申报填写。
四、票据开具
(一)票据开具。非税票据的开具,在费款缴纳成功后可通过【开具中央非税收入统一票据】功能进行票据开具,本功能提供Pdf文件进行下载。

(二)票据补开。非税票据补开功能是《中央非税收入统一票据》开具的补偿功能。当首次开具完《中央非税收入统一票据》后,再次开具可通过【补开中央非税收入统一票据】模块进行补开。

五、申报作废
(一)申报作废。当城镇垃圾处理费申报错误或需要更正时,通过【申报作废】功能模块进行申报作废,在作废成功后通过城镇垃圾处理费模块进行重新申报。

(二)未开票支付作废。此功能模块是非税缴纳的补偿模块,当在缴费过程中操作失败或取消付款操作,如需再次缴费可通过【开票作废】模块对已经开具电子税票号码的税费信息进行作废。作废成功后通过【费款缴纳】模块继续缴纳费款。
